蝶阀知识
阀门首页 > 阀门知识 > 蝶阀知识 >
d941X-16c电动蝶阀的型号意义及结构详细图解
d代表蝶阀。
9代表驱动装置是电动。
4代表阀门与管道的连接方式是法兰连接。
数字1有两种说法,第一种是阀门是中线的,那阀门就有可能是阀体内衬胶的软密封蝶阀,第二种说法是垂直板式(阀门全关时,蝶板和通道垂直),那就有可能是两偏心橡胶软密封蝶阀( 但是中线蝶阀也是垂直板式哟,要注意一下),实际就是常说的42X蝶阀。
X代表密封副至少有一种是橡胶,也有可能是阀体内衬胶,也有可能是蝶板上的密封圈是橡胶。
16代表公称压力为PN16,也就是1.6兆帕,1.6Mpa。

电动法兰式软密封蝶阀由橡胶密封蝶阀和碳钢或不锈钢阀板、阀杆构成。适用于温度120如轻纺、造纸、食品、医药、化工、石油、电力、等给排水、气体管道上作调节流量和截流介质的作用。其主要特点为设计新颖、合理、结构独特,重量轻,启闭迅速。操力矩小,操作方便,省力灵巧。可以任何位置安装,维修方便。密封件可以更换,密封性能可靠达到双向密封零泄漏。密封材料耐老化、耐腐蚀,使用寿命长等特点。
一、工作原理:
电动执行器:法兰软密封电动蝶阀采用电动执行器作为驱动装置,通过接收外部信号,控制阀门的开度。常见的电动执行器有电动蜗杆、电动气缸等。
阀体与阀板:阀体是蝶阀的主要部件,由两块对称的半圆形阀板组成。当电动执行器驱动阀板旋转时,阀板与阀座之间的间隙大小会改变,从而影响流体通路的开闭程度。
二、组成结构:
阀体:一般采用铸铁或不锈钢材质制成,具有良好的耐腐蚀性和密封性能。
阀板:通常采用不锈钢材质制成,具有较好的耐磨性和耐腐蚀性。
密封装置:法兰软密封电动蝶阀采用软密封结构,主要包括密封圈、填料等部件,以确保阀门的完全密封性能。

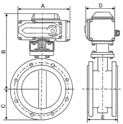
1、D941X电动法兰式蝶阀结构设计的主要依据国家相关标准规定设计。
2、D941X电动法兰式蝶阀所采用的通用做法和标准构件图集。
3、如有特殊D941X电动法兰式蝶阀构件需作结构性能检验时,应指出检验的方法与要求。
4、D941X电动法兰式蝶阀主要根据剖面、长度、高度、外形等作出说明。
5、D941X电动法兰式蝶阀所选用结构材料的品种、规格、性能及相应的产品标准。

D941X电动法兰式蝶阀结构主要是给安装单位提供具有更好的了解该D941X电动法兰式蝶阀的外形结构、使用时考虑到工况、环境等因数在应用中有着更合理的计划规范,不会在安装时产生空间使用不合理等常见问题。本结构图所属上海凯利科阀门有限公司提供,并提供相关外形尺寸,在应用中可以作为参考。
上一篇:法兰电动蝶阀d941x-10q dn400使用说明书 / 下一篇:蝶阀手动改自动延长杆加多长合适呢